|  | 
 | ||||
|  | |||||
| 
 | |||||
|  | News 2016 January | ||||
|  | 01.January.2016
 02.January.2016
 We also improved a system and developed our own variants and designs. iRaiment Further steps #1
 Style of Speed Further steps
 04.January.2016
 With our Head-Mounted Displays (HMDs), other system elements, extensions, and supplements for our Virtual Reality Environments (VREs) by VRontier we have them all: amazing displays, internal case and external full-room sensors, high-performance controllers, etc., etc., etc., and much more.
 And our Augmented Reality (AR) solutions are fascinating and will blow you away as well. So much about the tip of our iceberg. Btw.: Last year, we already have demanded a company, which we think is a fake company that has been created for the only reason to disturb our business, to immediately stop marketing and selling its 3D-printed headset accessory with uncontrolled fan. Ontonics Further steps
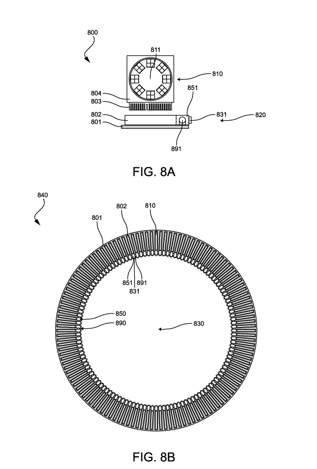
 In the example shown in the image below, each WiSer (expansion) card (810) has 8 processor stacks, 4 processors per stack layer, and a vast amount of processor cores. All processors on a single (ex- pansion) card are directly connected (811) in a wireless optical way.
 Such a WiSer system is the imperative technological and economical prerequisite for applications in the fields of for example: With such a Wireless Supercomputer system, the fusion of data pro- vided by multiple sensors and processors is a child's play performed in O(1), as is the individual processing of these data.
 When looking at a newer solution, we concluded that another newer solution could be realized in a simpler way with related models of our business units Ontoscope and intelliTablet. Furthermore, we realized only now somehow that a new technology of us performs much better and provides the same quantities and qualities when compared with another new technology of us. Besides these works, we improved a component of at least two of our foundational technologies significantly. Last but not least, as usual, we improved a component of a device. Now, it is even better than better. iRaiment Further steps
 Roboticle Further steps
 Investigations::Multimedia
 "Integration of collaboratively created maps (wiki-map), and image- and video-based 2D and 3D rendering and modeling from collab- oratively created image/photo and video collections, or in other words, (purely) collaboratively created location-based 2D and 3D [(geographic)] information systems. [...] This will be used by our [...](Wiki)Map related activites as well, like our OpenStreetView project." In addition, we got from a media report the following informations: "built-in cameras and GPS navigation", "map-generation technology that relies on crowdsourcing to deliver maps that are constantly updated", "its image-matching technology can take measurements from multiple cars and distill it down into a map that's accurate down to a 5-centimeter threshold", and "cloud-based image tech".
 For sure, this includes that as the first steps a collaborating crowd collects spatial data about the enviroment, generates at least one 2D or/and 3D map out of this recorded geoinformation data, and also takes and shares 2D or/and 3D images and videos of the environment with related sensors of all kinds [...] generating a 2D or/and 3D map out of the recorded geoinformation data, and sharing the generated map over a network by e.g. cloud computing techniques. The work also applies post-processing techniques of this data, including image-matching and image-based rendering, to generate 2D and 3D objects, and the mixing of the recorded geographic data with other data, such as the OpenStreetMap for example. Actually, our corporation is the only entity that owns an exclusive license for this multimedia work of art and all related projects based on it, specifically the OpenStreetView project. Furthermore, the OpenStreetView project is already used for the MapCloud service by Style of Speed. We demand the media not to report anymore about this map generation technology stolen and presented by the company Toyota and even better to inform their readers and viewers about the facts instead, specifically about the true creator and intellectual property owner. 05.January.2016
 Moreover, we developed a set of devices. Furthermore, we developed a second set of devices. In addition, we are thinking about a smart television that has a display screen with a thickness of around 2 millimeter and a diagonal of around 71 inch/180 centimeter for a target price less than 5,000 U.S. Dollar (see also for example the Original vs. Inspiration of the 27th of December 2015). In relation with our lidar systems 1.0 and lidar systems 2.0 (see the Ontonics Further steps of the 7th of January 2015 and 28th of July 2015) we asked ourselves how we should nickname the lidar 2.0 devices and concluded that the tern marshmallow would be appropriated from a marketing point of view if another company calls a lidar (hockey) puck despite it has the size of a 20 oz peanut butter jar. OntoLix and OntoLinux Further steps
 OntoDroid Further steps
 OntoLab and iRaiment Open Glasses #12
 iRaiment Further steps
 Original vs. Inspiration
 
 Our other basic Mixed Reality Head-Mounted Display (MRHMD) has been shown already in the Originial vs. Inspiration of the 26th of March 2015 and the Ontonics Further steps of the 2nd of July 2014. The images below add some more basic components. Roboticle Further steps
 We also improved another robot. 06.January.2016
 Ontonics Further steps
 In addition, we developed the next generation of one of our tech- nologies. This variant comes also in two versions that solve a problem in relation with a specific application of it. OntoLix and OntoLinux Further steps
 iRaiment Further steps
 Roboticle Further steps
 Furthermore, we have begun the production phase of another older robot model, which is much more superior than the robots of the competitiors. We also developed our version of a robot model. Moreover, we developed a new robot model. Style of Speed Further steps
 The new Active Rear-view Mirror are also using our relatively new Active Sensor called Active Lidar (see also the Ontonics Further steps of the 7th of January 2015, 28th of July 2015, and today). Since some times, we are also thinking about branding our model ETE:
 Needless, to say that this variant could also be a delivery drone. We developed a new model of our Scooter product series, with which we have created once again a new genre of commuting after our modern electric kickboard. Investigations::Multimedia
 The difference is that the company Harman thought to be more clever and took not the whole copyrighted concept, but only a fraction of it that its taking pictures in a collaborative way, fuse it with location based data such as GPS, post process the data, and provide it again to one or more persons as part of a GIS. The facts that the pictures are only traffic signs, road conditions, parking lots or something like this, and that the images show situations that are dynamic does not change the issue, because it is still an essential part of the work of art and this part is not used in a way that constitutes a new work. We demand the media not to report anymore about this map generation or GIS technology stolen and presented by the company with and even better to inform their readers and viewers about the facts instead, specifically about the true creator and intellectual property owner. Who is the german automaker, which is its research partner? Volkswagen, Daimler, Bayerische Motorenwerke, Ford, Toyota, or one of the smaller companies? 07.January.2016
 Original vs. Inspiration
 
 See also the compositors of our OntoGraphics component of OntoLix, OntoLinux, and most potentially OntoDroid. Clarifiaction #1
 Clarifiaction #2
 The reason for our development of such a flexible visual display device is that the display manufacturers have not provided a tech- nology, which has a small bending angle or bendingradius of around 3.5 cm and provides scratch resistance in addition. Presented were only a display device with a bending radious of around 60 cm or bending diameter of 1.2 m.
 Another problem with the flexible display screen, which can be bent, twisted, or rolled with a small radius, is that they get wrinkled when bent too much respectively overbent beyond their minimal bending radius, and baggy when bent too much in the same way.
 We made a comprise and integrated what is available and matured, and hence is truly functioning as a consumer product. Said this, we solved all major issues that prevented a market introduction of rollable displays. For sure, we also have integrated a touchscreen and developed a complete mobile device realized in the same way of sandwich construction, as announced together with the start of the production phase on the 15th of De- cember 2015. Furthermore, the Wonder Glass is delivered by a highly specialized company, the display screens can be produced immediately, and our solutions are already protected or/and patent queueing. Collaborating manufacturers are permitted to use our Wonder Display technology for their product promotions, if and only if they make a correct reference to one of the websites of our business units OntomaX, OntoLab, Ontoscope, or intelliTablet. Ontonics Further steps
 In this relation, we are thinking about a buy back or discount program for customers of Head-Mounted Displays (HMDs), who are disappointed with the performance of other companies, such as Facebook→Oculus Rift and HTC for example, because we want that our customers are happy with us. We are also thinking about a price tag of less than 300 U.S. Dollar for our entry level Virtual Reality Head-Mounted Display (VRHMD) that provides at least the same features and performances as comparable devices. The only difference is that a specific game controller is availabe as an option. In addition, when we looked at one of our new technologies, we concluded that it can be done even better. Said this, we added new functionalities and even generalized the initial concept. Furthermore, we integrated the new generalized technology with another technology. iRaiment Further steps
 OntoLab and Roboticle Announcement Open PBot #1
 See also the Clarification #1 of today above. Style of Speed Further steps
 Furthermore, we developed another new interior concept based on new technologies. 08.January.2016
 Ontonics Further steps
 Besides our amazing technological developments we are thinking about expanding our collaboration with the Walt Disney Company beyond 3D mobile devices (see for example the intelliTablet Further steps of the 30th of December 2011 and 11th of July 2014, and also the Ontoscope Further steps of the 22nd of January 2014, 23rd of June 2014, and 20th of September 2014).
 We also integrated two relatively new solutions of us to improve one of these solutions. The result looks a little crazy, but using it is absolutely amazing and the latter is surely more important. Wow. In addition, we continued the work on a new mobile device. Now, we have two different variants and can start the production phase. Furthermore, we continued the work in relation with one of our mobile devices. And we continued the work on one of our systems. In this conjunction we used or integrated different devices in a smart way and are wondering now why others have not seen this solution. OntoDroid Further steps
 09.January.2016
 Furthermore, we continued the work on an older system. In this development step we extended the system by the combination with another system, which provides both foundational systems much more flexibility and increases their qualities, but also constitute a totally new platform for an overall system. This is definitely the next generation of all applied technologies and applications. This is really great. We also improved the service of one of our business units, that has not been started officially so far. Moreover, we improved a technology by our reengineering. The results look a little ridiculous in the first moment, but it is one of our projects that we call dangerous, because it has this viral potential. Said this, also for us it is highly interesting how its story evolves.
 And then the magic happened in our OntoLab, the original Lab of Visions:
 And then one of our other business units said it wants it as well. So we developed a fourth device. In relation with another field of technology, we developed our variant of a device. If nobody else has seen its potential before, then it could become the next revolution of us. After we saw how huge the potential of a technology truly is, we continued with its development and also started its production phase. Our fans and readers have to wait a little time and see theirselves that this is definitely a revolution. Besides specific device developments and improvements, we have developed general technologies with extreme characteristics as well today. Finally, we optimized one of our production processes by solving a foundational problem in a very elegant way. OntoLix and OntoLinux Further steps
 In combination with other components we will easily prove our lead in this field as well, and also in the field of essential hardware. 10.January.2016
 Ontonics Further steps
 In addition, we have finalized our network obfuscation function. MAC filtering and similar approaches are done. In relation with the technology improved yesterday, we made a first estimation of its increased performance.
 Furthermore, we have worked on an older technology, so that it becomes more interesting due to its increased applicability and affordability. Furthermore, we developed some new variants of our newest devices and played around with them. When looking at some of our newer technologies, we had to realize that we have left the theoretical research and entered the practical development already. While thinking about our latest hypersoar designs, their shock wave forming, and some kind of a sonic boom suppressor, we used some principals of physics and informatics to solve the teletransportation paradox, also known as duplicates paradox in alternative forms, for a possible realization of teleportation.
 Please, do not confuse a teleporter with a jumpgate or stargate. Besides all these developments, we started a new business project. We also used a software technique of our safety and security suite for the development of a new advertisment blocker, which cannot be circumvented by webiste owners. OntoDroid Further steps
 In this relation, we looked at some last details of our software stack and the Graphical User Interface (GUI). Before we could go into the details in relation with the realization of our geographic obfuscation function, we found a related application, which showed us the way literally spoken. We also thought about a technical detail of the implementation of our approach and concluded that we can realize much more easier and elegant. OK Onto, ... OntoZen Further steps
 OntoZen can also be run together respectively side by side with OntoLix, OntoLinux, and OntoDroid as well (see also the Further steps of the 5th of January 2016 for example). 11.January.2016
 Bluebird species: See also the Picture of the Day of the 13th of May 2013. Ontonics Further steps We continued the work on a technology with the focus put on its suitability for safe and secure mass use. Roboticle Further steps
 Style of Speed Further steps
 It can be seen nicely in the sketches, how we have arranged the powertrain in a different way at first (see the related Further steps and World Premieres of the 8th, 20th, 27th, and 29th of December 2015) to create the freedom and literally spoken the space for our totally new designs not possible in this way before. We are also thinking about making the 91x project the next gene- ration of our model 9!. Doubtlessly, the story and the interior of the 9! fit perfectly.
 In addition, it can be seen how the evolution of the initial model, the 911, to our model 9ii is realized, which is already the next model generation. Yes, indeed, the time has come. We also would like to show another image in relation with the model S4S of the Unicorn Blade series (the first image can be seen in the Further steps of the 8th of December 2015), which has been inspired by the hot road style Speedstar Vicky as well. 
 Obviously, we can speak a totally different design language and construct extraordinary sports cars and hypercars now. 12.January.2016
 Ontonics Further steps
 Furthermore, after we were reminded about two older technologies and their older integration we saw the huge potential and developed two new variants of the integrated technology. Really good. Style of Speed Further steps
 In addition, we are pleased to announce our new 2³ propulsion system, which is another masterpiece of engineering developed by SoS (see also the related Ontonics Further steps of the 19th of December 2015 for example).
 Furthermore, we configured a propulsion system for special demands. 13.January.2016
 Ontoscope Further steps
 Style of Speed Further steps
 The images below show older designs of "man's alleged answer to the problem of bumper-to-bumper jams" created in the years 1962 and 2007, which have been improved by us in every aspect. We are pleased to announce our first personal multicopter, which is eligible for certification by the Federal Aviation Administration.
 Our personal multicopter also features the new design especially developed for a Personal Aerial Vehicle (PAV), which we mentioned in earlier issues of the Further steps. In addition, we would like to give the information that our platforms for autonomous vehicles, K.I.T.T. and K.A.R.R., have become even better in the last weeks. Before they were already able to handle bad weather conditions, such as fog, heavy rain, and even snow fall. But now our K.I.T.T. and K.A.R.R. can also drive in com- pletely muddy and snowy environments. Indeed, we get the job done. All alone. Btw.: We have not seen any other vehicle manufacturer, that really understood the complete problem space of autonomous driving and we do not expect to ever see anyone with the exception of those, that have taken our intellectual properties. We also developed a new aircraft model, which has a specific feature that is an advantage but also a problem of such an aircraft type. 14.January.2016
 Depending on the variant these new intelliTablets and Ontoscopes are waterproof to a depth of at least 3 meters (IEC standard 60529; IP68) as well. Evolution is too slow for us. intelliTablet Iri #11
 Style of Speed Further steps
 Furthermore, we decided to make the 91x project the next gene- ration of our model 9!, as suggested in the Further step of the 11th of January 2016.
 We also worked on some few details of the exterior design of our 4-seater models of the 9x9, Prancing Unicorn, and Unicorn Blade series, which are related with the trunk lid for example. Another consideration is related with a convertible version of the 4-seater models, specifically of the model S4S (see for example the Further steps of the 8th of December 2015 and 11th of January 2016), which is inspired by the hot rod style Phaeton. Besides these works in relation with surface vehicles, we also took some time to continue with the investigation of a problem with a special type of aircraft (see also the Further steps of the yesterday) that we are conducting since many months.
 And finally, we are pleased to announce the first powertrain for an electric vehicle, that has: 15.January.2016
 Rock 'n' Roll Style of Speed Further steps
 Furthermore, our Green Speed model Elettoro, the Electric Bull, also got the improved fuel cell technology, which has 3 new system components. 16.January.2016
 Ontonics Further steps
 We also improved our obfuscation function without a reduction of the user comfort for sure. In this way, a search engine provided by a company can be used in conjunction with an online or web mapping service provided by another company or an organization without the problem that one single entity knows who is doing what at which place, though by the other obfuscation measures a single service provide does not know at all who or where a user is.
 Smarter than smart OntoLix and OntoLinux Further steps
 Style of Speed Further steps
 But why stop when the party has just started? Said this, we added two more Vertical Take-Off and Landing (VTOL) variants of our HWB-1/Agile Eagle. We promised to revolutionize air travelling.
 17.January.2016
 We do not know why, but we continued with the work on the tech- nology of our stargate or jumpgate. Please, do not confuse a jumpgate or stargate with a teleporter. Furthermore, we thought about the combination of two approaches, but we do not know what will happen when a device based on it will be operated. Style of Speed Further steps
 It is slowly but continuously becoming a fact, that C.S. has deve- loped another breakthrough marvel of technology only thought to be possible in comic books and science fiction novels and movies, and maybe also the related theoretical concept of the so-called super- fluid Magnus effect. In this relation, we also note that we would like to: Have our fans really thought that we would simply convert the model Aventador of the marque Volkswagen→Audi→Lamborghini to our model S4S of the Unicorn Blade series? No, for sure this is not the case, but instead we are thinking since several weeks to continue with the overwork of the design concept called Type C8 of Maxime de Keiser, which is shown in the image below, for the next genera- tion of our model RE or for the models S0S, which seems to be a source of the inspiration behind this concept, and S4S, because we got the opinion that the design would also fit very well for them. 
 Furthermore, our Elettoro has become one of the models of the Unicorn Blade series. Another consideration made in the last days is related with the possibility to merge the models RE and Elettoro into one model, though we would like to keep the RE. Said this, another possibility is to merge the RE with the i!, j!, and k! model series. 18.January.2016
 In addition, we are looking for constructive collaborations with other aircraft manufacturers and airlines in Asia, South America, and other areas that have the goals to expand the use of our technologies, machines, and services for further cost cuttings and business expansions. Furthermore, we are pleased to give the informations that our internal business division for solar technology has complemented its product portfolio with the next generation of advanced solar panels, very cost effective high voltage batteries (see the related Further steps), and now also related high performance power inverters delivered by our U.S.American and P.R.Chinese partners. Instead of waiting for a time far away in the future when travelling with firework rockets might have become safer, we thought about a problem with our stargate, aka. jumpgate: How can we set the destination gate at the end of a wormhole without visiting the time or/and space at first?
 We also developed a simple but therefore elegant counter argument that a traversable wormhole is possible without exotic matter in contrast to explanations based on the Raychaudhuri equation and sketched a related concept. Another activity was related with continuing the development of one of our fantastic technologies, which is quickly moving from the research and development over the prototyping to the production phase.
 Finally, we developed another version of a module, that can be used with different devices. 19.January.2016
 20.January.2016
 In addition, we took a quick look at the details of the security vul- nerabilities of the telephony signaling protocols set Signalling System No. 7 (SS7) and SnoopSnitch. Now, we are rubbing our eyes and wondering about alle those nonsenses going on there. Even the most common security measures taught since more than 3 decades are not implement and applied.
 At this point we do not want to forget to mention that our system is designed to circumvent all these vulnerabilities most of the time and space. Another new development is using a module of a special weapon system to decrease the reaction time, specifically the launch time, as well as the cost of one of our missile systems significantly.
 In relation with one of our electric energy storage devices we made the asumption that its construction might solve at least one found- ational problem as a side effect (see the related Further steps). Furthermore, we have decided to ramp up the start of the product- ion phase of one of our display technologies and the devices based on it, which provide outstanding qualities. Last but not least, we thought about using a special material in a different way for making at least one of our devices safe enough, so that we can start its production as well 21.January.2016
 22.January.2016
 Ontonics Further steps
 Another work conducted today is to use a material for the con- struction of some modules in an advantageous way. We also continued the work in relation with another technology and reached our first goal that is to get more and more familiar with its foundations and possibilities. Roboticle Further steps
 23.January.2016
 TaaaDaaa!!! Ontonics Further steps
 TaTaTaDaaa!!! We also used a material for the construction of a module in another advantageous way. 24.January.2016
 
 Needless to say, the image does neither show the final design lines nor the final dimensions. For example, the headroom for the rear passengers will be larger. For the first impressions of the exterior design see the webpage of our model S 0 S (Stratos Zero Speciale) and the Further steps of the 8th of December 2015, 11th of January 2016, and 17th of January 2016. 25.January.2016
 
 Style of Speed Further steps
 26.January.2016
 See also the Picture of the Day of the 10th of January 2015. 27.January.2016
 Style of Speed Further steps
 As a consequence, we also thought about the construction of a slower supersonic or hypersonic airliner. It is now up to the governments to allow supersonic overflight again, so that we can continue to build up our empire in this market sector as well. 28.January.2016
 Picture of the Day
 29.January.2016
 In this respect, we demand the Federal Aviation Administration in the U.S.A. and similar authorities in other countries to define and install new provisions that: 
 
 and so that we can certify and operate our aircrafts and services legally and safely. Style of Speed Further steps
 In addition, we got the commission from one of the air transport service business units to develop a quiet supersonic airliner, which is based on the latest developments of our sonic boom suppressor mentioned in the Further steps of the 27th of January 2016.
 Another technology we are working on since quite some time as well, is the propellant system of an engine. Today, we looked on details of its construction and improvements, and also on the overall engine performance.
 30.January.2016
 Style of Speed Further steps
 In the subsequent step we selected the tested models and available tech- nologies, which reduce the last research and development tasks and make a quick prototyping, construction, testing, and certifying possible. The following list gives some preliminary informations about its specification and operational features: 
 
 which makes it highly disruptive in the related transport sectors. Interested investors can already begin with the restructuring of their investment portfolios. Investigations::Multimedia In detail, Ford took a similar approach like the company TomTom and presented it in the following way: Autonomous vehicles cannot use objects on the ground and at the roadside for navigation in snow conditions. To solve this problem, its solution uses informations about an environment, such as pictures of buildings and landmarks for example, that were taken in conditions free of snow and collected on its server(s) for further processing and using. The critical point here is how the sensor data (e.g. location data and pictures) are taken: Either they are taken by e.g. a fleet of special automobiles, such as it is done by the companies TomTom and Nokia, which we do not see as a problem as long as all the vehicles are really owned by one entity (also excludes leasing of cars as well as pictures and other sensor data owned by customers or other such measures), or the sensor data are taken and sent to a central server by the vehicles of the customers as part of a crowd- sourcing activity, where they are processed and connected with spatial or geographical data potentially also collected by the vehicles of the customers, such as it has been presented by the companies Toyota and Harman, which is an essential part of said multimedia work of art and used in the same context and the same way to express the same original idea, and therefore a copyright infringe- ment from our point of view (see for example the Comment of the Day and the Pictures of the Day of the 25th of July 2013 and the related text). Btw.: All mobile device and mobile operating system manufacturers are very short before infringing the copyright related with the multimedia work of art called Ontoscope, or might have breached already the copyright like it seems to be the case with for example the joint venture of Google and Lenovo. 31.January.2016
 Ontonics Further steps
 * exclusive video streaming, and only in conjunction with a mobile device for 12 months from buying date and an account for the social service and short messaging service platform of the C.S. GmbH. | ||||
|  |  |  |  |  | |
|  | |||||